• Распродажа
  • Соглашение
  •  

     

     

    Руководство по CLP-610

    Введение

    Обзор программного обеспечения

    Приступая к работе

    Материалы для печати на принтере

    Печать

    Устранение замятий

    Устранение неисправностей

    Материалы и дополнительные компоненты

    Установка дополнительных компонентов

    Технические характеристики

     

    Молодая команда

    Интернет-компания по продаже картриджей awella.ru

    Вот уже более 26 лет наша компания успешно занимаемся продажей расходных материалов для оргтехники и копировальных аппаратов (для бизнеса : для Canon, HP, Epson, Brother, Samsung, Kyocera, Xerox, Panasonic, Minolta, Lexmark, OKI, Pantum, Ricoh, Toshiba, так же и покупаем картриджи) и бумаги для офисной техники в России.

    Мы предоставляем для своих клиентов:

    консультации, гарантию, программу бонусов, быструю доставку в том числе и бесплатную доставку до удобной клиентам транспортной компании, более 1250 пунктов выдачи по всей России, выписку счета, экономию, сервис.

    Приступая к работе на Samsung CLP-610

    Установка аппаратного обеспечения

    1 Выберите место для установки устройства в устойчивом положении.

    Расположите устройство на ровной устойчивой поверхности со свободной циркуляцией воздуха. Оставьте свободное место для открытия крышек и лотков.

    Устройство должно находиться в сухом, хорошо проветриваемом помещении, вдали от прямых солнечных лучей, источников тепла, холода и влаги. Не устанавливайте устройство у края стола.

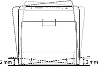
    Разместите устройство на ровной устойчивой поверхности и убедитесь, что его наклон не превышает 2 мм. Иначе может снизиться качество печати.

    2 Вскройте упаковку устройства и проверьте ее содержимое.

    3 Удалите ленту, которой перевязано устройство.

    4 Установите все четыре тонер-картриджа.

    5 Загрузите бумагу.

    6 Подключите к устройству все кабели.

    7 Включите устройство.

    При перемещении принтера не наклоняйте его и не переворачивайте его вверх дном. В противном случае на внутреннюю поверхность принтера может высыпаться тонер, что может вызвать повреждение принтера или ухудшение качества печати.

    Настройка сети

    Для работы с принтером в сети необходимо настроить сетевые протоколы.

    Поддерживаемые операционные системы

    В следующей таблице указаны поддерживаемые устройством элементы сетевого окружения:

    Качество печати обеспечивается при нахождении устройства на высоте до 1000 м над уровнем моря. Для оптимизации качества печати проверьте настройки высоты над уровнем моря.

    Компонент

    Требования

    Сетевой интерфейс

    10/100 Base-TX

    Сетевая операционная система

    Windows 2000/XP/2003/Vista Различные версии ОС Linux Macintosh 10.3 ~ 10.5 (серия CLP-610) Macintosh 10.1 ~ 10.5 (серия CLP-660)

    Сетевые протоколы

    TCP/IP

    Настройка сетевых протоколов в устройстве

    Для настройки сетевых параметров TCP/IP выполните следующие действия.

    1 Подключите устройство к сети с помощью кабеля Ethernet RJ-45.

    2 Включите устройство.

    3 Нажимайте кнопку Меню на панели управления до тех пор, пока в нижней строке дисплея не появится надпись Сетевые настройки.

    4 Нажмите кнопку ОК для доступа к меню.

    5 Нажимайте стрелку влево/вправо, пока не появится надпись TCP/IP.

    6 Нажмите кнопку ОК.

    7 Нажимайте стрелку влево/вправо, пока не появится надпись Статический.

    8 Нажмите кнопку ОК.

    9 Нажимайте стрелку влево/вправо, пока не появится надпись IP-адрес.

    10 Нажмите кнопку ОК.

    11 Введите IP-адрес.

    a. Нажимайте стрелку влево/вправо для ввода числа в диапазоне от 0 до 255.

    b. Нажмите кнопку OK.

    c. Повторите эти шаги для ввода всего адреса.

    12 Нажимайте стрелку влево/вправо, пока не появится надпись Маска подсети.

    13 Нажмите кнопку ОК.

    14 Введите маску подсети.

    a. Нажимайте стрелку влево/вправо для ввода числа в диапазоне от 0 до 255.

    b. Нажмите кнопку OK.

    c. Повторите эти шаги для ввода всей маски подсети.

    15 Нажимайте стрелку влево/вправо, пока не появится надпись Шлюз.

    16 Нажмите кнопку OK.

    17 Введите значение для шлюза.

    a. Нажимайте стрелку влево/вправо для ввода числа в диапазоне от 0 до 255.

    b. Нажмите кнопку OK.

    c. Повторите эти шаги для ввода полного значения шлюза.

    Если вы не уверены в том, какие значения следует указать, обратитесь к сетевому администратору.

    Параметры сети также можно настроить с помощью одной из программ сетевого администрирования.

    • SyncThru Web Service: веб-сервер, встроенный в сетевой сервер печати и позволяющий:

    - настраивать параметры сети, необходимые для подключения устройства к различным сетевым средам;

    - устанавливать пользовательские настройки.

    • SetIP: утилита, позволяющая выбирать сетевой интерфейс и вручную настраивать IP-адреса для использования с протоколом TCP/IP.

    Установка программного обеспечения

    Для печати необходимо установить программное обеспечение принтера. К программному обеспечению относятся драйверы, приложения и другие программы, упрощающие задачи пользователя.

    • Следующую процедуру необходимо выполнить, если принтер используется в качестве сетевого устройства. Если требуется подключить принтер с помощью кабеля USB, обратитесь к разделу «Программное обеспечение».

    • Следующая процедура установки относится к операционной системе Windows XP. Процесс установки, а также выводимые в ходе этой установки окна различаются в зависимости от версии операционной системы, набора функций принтера и интерфейса пользователя.

    1 Завершите настройку сетевых параметров устройства. Перед началом установки закройте все приложения.

    2 Установите компакт-диск с программным обеспечением принтера в привод компакт-дисков.

    После автоматического запуска компакт-диска откроется окно установки.

    Если окно установки не открылось, выберите Пуск > Выполнить. Введите X:\Setup.exe, заменив «X» буквой, назначенной приводу компакт-дисков, и нажмите кнопку OK.

    В Windows Vista щелкните Пуск > Все программы > Стандартные > Выполнить и введите X:\Setup.exe.

    3 Нажмите кнопку Далее.

    Выберите команду Обычная установка для сетевого принтера и нажмите кнопку Далее.

    • Если производится переустановка драйвера, вид представленного выше окна может незнaчительно отличаться.

    • Просмотр руководства пользователя: эта кнопка позволяет просмотреть руководство пользователя. Если в вашей системе не установлена программа Adobe Acrobat, нажмите эту кнопку, и программа Adobe Acrobat Reader установится автоматически. Далее просмотрите руководство пользователя.

    5 На экране появится список доступных сетевых принтеров. Выберите в списке нужный принтер и нажмите кнопку Далее.

    • Если нужный принтер в списке отсутствует, нажмите кнопку Обновить, чтобы обновить список, или выберите Добавьте порт TCP/IP., чтобы добавить ваш принтер в список сетевых принтеров. Чтобы добавить сетевой принтер, введите имя порта и IP-адрес принтера.

    Для проверки IP- или MAC-адреса устройства напечатайте страницу сетевой конфигурации.

    • Чтобы найти общий сетевой принтер (путь UNC), выберите Общий принтер [UNC] и введите общее имя вручную либо нажмите кнопку Обзор, чтобы найти общий принтер.

    Если вы не знаете, какой IP-адрес нужно указать, обратитесь к сетевому администратору или распечатайте информацию о сети.

    6 После завершения установки появится окно с предложением напечатать тестовую страницу и зарегистрироваться в качестве пользователя принтера Samsung, чтобы получать сообщения от компании Samsung. Установите соответствующие флажки по своему усмотрению и нажмите кнопку Готово.

    • Если после установки принтер не работает надлежащим образом, попробуйте переустановить драйвер. В процессе установки драйвера принтера программа установки драйвера автоматически определит языковые и региональные настройки операционной системы и установит размер бумаги по умолчанию. При использовании разных языковых и региональных настроек для размера бумаги необходимо установить значение, наиболее часто используемое при печати. По окончании установки перейдите к разделу свойств принтера, чтобы изменить размер бумаги.

    Основные настройки принтера

    После завершения установки можно установить параметры принтера по умолчанию. Если необходимо установить или изменить параметры, перейдите к следующему разделу.

    Настройка высоты над уровнем моря после установки программного обеспечения

    На качество печати влияет атмосферное давление, которое, в свою очередь, определяется высотой над уровнем моря. Следующая информация поможет выполнить настройки принтера для обеспечения наилучшего качества печати.

    Перед установкой значения высоты над уровнем моря определите высоту, на которой используется устройство.

    Значение

    1 Драйвер принтера необходимо устанавливать только с компакт-диска, поставляемого вместе с принтером.

    2 Дважды щелкните по значку Smart Panel на панели задач Windows или в области уведомлений Linux. Кроме того, можно щелкнуть по значку Smart Panel на панели состояния в Mac OS X.

    3 Нажмите кнопку Определяется принтером.

    4 Нажмите кнопку Настройка > Поправка на высоту. Выберите соответствующее значение из выпадающего списка и щелкните Применить.

    Если ваш принтер подключен к сети, автоматически появляется окно SyncThru Web Service. Щелкните Определяется принтером > Настройка (или Настройка принтера) > Над уров. моря. Выберите соответствующее значение высоты над уровнем моря и щелкните Применить.

    Выбор языка вывода сообщений

    Чтобы сменить язык вывода сообщений на дисплей, выполните следующие действия.

    1 Нажимайте кнопку Меню на панели управления до тех пор, пока в нижней строке дисплея не появится надпись Настр.сист.

    2 Нажмите кнопку ОК для перехода в меню Настр.сист.

    3 Нажимайте стрелку влево/вправо, пока не появится надпись Язык.

    4 Нажмите кнопку ОК.

    5 Нажимайте стрелку влево/вправо до появления требуемого языка.

    6 Нажмите кнопку ОК.

    7 Для возврата в режим готовности принтера нажмите Стоп.

    Установка времени ожидания для заданий

    1 Нажимайте кнопку Меню на панели управления до тех пор, пока в нижней строке дисплея не появится надпись Настр.сист.

    2 Нажмите кнопку ОК для перехода в меню Настр.сист.

    3 Нажимайте стрелку влево/вправо, пока не появится надпись Вр.ожид.задан.

    4 Нажмите кнопку ОК.

    5 Нажимайте стрелку влево/вправо для установки времени ожидания принтера.

    6 Нажмите кнопку ОК.

    7 Для возврата в режим готовности принтера нажмите Стоп.

    Работа в режиме энергосбережения

    1 Нажимайте кнопку Меню на панели управления до тех пор, пока в нижней строке дисплея не появится надпись Настр.сист.

    2 Нажмите кнопку ОК для перехода в меню Настр.сист.

    3 Нажимайте стрелку влево/вправо, пока не появится надпись Энергосбереж.

    4 Нажмите кнопку ОК.

    5 Нажимайте стрелку влево/вправо для установки времени.

    6 Нажмите кнопку ОК.

    7 Для возврата в режим готовности принтера нажмите Стоп.

    Параметры типа и размера бумаги по умолчанию

    Для заданий на печать можно выбирать размер бумаги.

    1 Нажимайте кнопку Меню на панели управления до тех пор, пока в нижней строке дисплея не появится надпись Бумага.

    2 Нажмите ОК для перехода к настройкам бумаги.

    3 Нажимайте стрелку влево/вправо, пока не появится надпись Размер бумаги.

    4 Нажмите кнопку ОК.

    5 Нажимайте стрелку влево/вправо для выбора размера бумаги, например, A4, Letter или Нестандартный.

    6 Нажмите кнопку ОК.

    7 Для возврата в режим готовности принтера нажмите Стоп.

    Выбор лотка по умолчанию

    Для выбора конкретного лотка для задания печати используется меню Источн. бумаги.

    1 Нажимайте кнопку Меню на панели управления до тех пор, пока в нижней строке дисплея не появится надпись Бумага.

    2 Нажмите ОК для перехода к настройкам бумаги.

    3 Нажимайте стрелку влево/вправо, пока не появится надпись Источн. бумаги.

    4 Нажмите кнопку ОК.

    5 Нажимайте стрелку влево/вправо для выбора лотка, например, Лоток 1, Лоток 2, МЦ-лоток, Лот.руч.под. или Авто.

    Если в этом меню установить значение Авто, появляется дополнительное меню Цикл лотков. С помощью функции Цикл лотков принтер ищет следующий доступный лоток для продолжения задания печати в случае, если первый лоток, обычно лоток 1, пуст.

    6 Нажмите кнопку ОК.

    7 Для возврата в режим готовности принтера нажмите Стоп.

    Изменение настроек шрифтов

    По умолчанию в устройстве установлен шрифт, соответствующий региону или стране назначения. Для того чтобы изменить шрифт по своему усмотрению или установить его в специальной среде, например в среде DOS, измените настройки шрифтов следующим образом.

    1 На панели управления нажимайте на кнопку Меню, пока не появится функция Эмуляция.

    2 Чтобы получить возможность настройки шрифтов, нажмите на кнопку ОК.

    3 Нажимайте на кнопки со стрелками влево/вправо, пока не появится пункт Настройка.

    4 Нажимайте на кнопки со стрелками влево/вправо, пока не появится пункт PCL.

    5 Нажимайте на кнопки со стрелками влево/вправо, пока не появится пункт Набор символов.

    6 Кнопками со стрелками влево/вправо выберите нужный шрифт.

    7 Нажмите на кнопку ОК.

    8 Чтобы вернуться в режим готовности, нажмите на кнопку Стоп.

    Использование программы SetIP

    Данная программа предназначена для настройки сетевого IP-адреса с помощью MAC-адреса, который представляет собой серийный номер сетевой карты принтера или интерфейса. Как правило, одновременное использование нескольких сетевых IP-адресов полезно для администраторов сетей.

    1 Вставьте в дисковод компакт-диск с драйвером, поставляемый вместе с устройством.

    2 Запустите проводник и откройте дисковод X (X — имя дисковода для компакт-дисков).

    3 Двойным щелчком выберите пункты Application > SetIP.

    4 Откройте папку, соответствующую требуемому языку.

    5 Для установки программы дважды щелкните по файлу Setup.exe.

    6 В меню «Пуск» последовательно выберите пункты «Программы» > Samsung Network Printer Utilities > SetIP

    7 Выберите имя принтера и нажмите кнопку «».

    Если имя принтера отсутствует, для обновления списка нажмите кнопку «».

    8 Укажите MAC-адрес сетевой карты, IP-адрес, маску подсети, шлюз по умолчанию и нажмите кнопку «Применить».

    Если вы не знаете MAC-адрес сетевой карты, распечатайте отчет с данными о сетевых параметрах устройства.

    9 Для подтверждения настроек нажмите кнопку OK.

    10 Для выхода из программы SetIP нажмите кнопку «Выход».

    <<<назад далее>>>

     

    при использовании материалов ссылка на сайт компании awella.ru обязательна

    Помогла информация на сайте ?

    Оставьте отзыв о работе нашей компании !

    Это можно сделать в яндекс браузере и это простимулирует работников нашей компании (ответственные получат бонусы), которые собирали ее для вас! Спасибо !