• Распродажа
  • Соглашение
  •  

     

    Читать в телеграме

     

     

    Руководство по 3200

    Краткое руководство по установке

    Описание индикаторов состояния

    Обзор полезных кнопок

    Приступая к работе

    Установка драйвера устройства, подключаемого по USB

    Совместное использование локального устройства

    Настройка сетевых параметров

    Настройка в системе Linux

    Настройка беспроводной сети

    Установка беспроводной сети

    Создание сети с прямым подключением в Windows

    Установка IP-адреса

    Устранение других неполадок

    Рекомендации по выбору материалов для печати

    Печать

    Специальные функции печати

    Печать документа

    Копирование

    Сканирование

    Инструменты управления

    Настройки драйвера

    Обслуживание принтера

    Устранение неисправностей

    Часто встречающиеся проблемы

    Расходные материалы

     

    Молодая команда

    Интернет-компания по продаже картриджей awella.ru

    Вот уже более 26 лет наша компания успешно занимается продажей расходных материалов для оргтехники, продаем картриджи для копировальных аппаратов (для бизнеса : на Canon, HP, Epson, Brother, Samsung, Kyocera, Xerox, Panasonic, Minolta, Lexmark, OKI, Pantum, Ricoh, Toshiba) и бумаги для офисной техники по всей России, покупаем картриджи.

    Мы предоставляем для своих клиентов:

    консультации, гарантию, программу бонусов, быструю доставку в том числе и бесплатную доставку до удобной клиентам транспортной компании, более 1250 пунктов выдачи по всей России, выписку счета, экономию, сервис.

    Краткое руководство по установке на принтере Samsung SCX-3200 series

     

    Читать в телеграме

     

    Поддержка разнообразных типов материалов для печати

    Лоток на 150 листов предназначен для загрузки обычной бумаги различных размеров, бланков, конвертов, наклеек, материалов нестандартного размера, открыток и бумаги повышенной плотности.

    Создание профессиональных документов

    Печать водяных знаков. Можно пометить документы какой-либо надписью, например «Конфиденциально». Печать плакатов. Текст и изображения на каждой странице документа можно увеличить, распечатать на нескольких листах бумаги и склеить.

    Готовые формы и фирменные бланки можно печатать на обычной бумаге.

    Экономия средств и времени

    В целях экономии бумаги можно распечатывать несколько страниц на одном листе.

    Данное устройство позволяет сэкономить электроэнергию, автоматически снижая ее потребление в режиме ожидания.

    В целях экономии бумаги можно печатать на двух сторонах листа в режиме ручной подачи.

    Устройство позволяет выполнять печать в различных операционных системах, например Windows, Linux и Macintosh.

    Устройство поддерживает интерфейс Hi-Speed USB 2.0.

    Устройство поставляется со встроенным сетевым адаптером (Ethernet 10/100 BaseTX).

    Оно оснащено встроенным беспроводным сетевым интерфейсом стандарта 802.11 b/g/n.

    Копирование оригиналов с высоким качеством

    Возможно копирование оригиналов и их печать с повышенным качеством изображения и большего размера.

    Сканирование оригиналов

    Цветное сканирование с качественным сжатием в форматах BMP, JPEG, TIFF и PDF. Сканирование оригинала нажатием одной кнопки.

    Вид спереди

    Вид вашего принтера может отличаться от иллюстрации в зависимости от модели.

    1. Крышка сканера

    2. Передняя крышка

    3. Внутренняя крышка

    4. Стекло экспонирования

    5. Лоток

    6. Картридж с тонером

    7. Панель управления

    8. Ограничитель длины бумаги

    9. Ручка картриджа

    10. Выходной лоток (лицевой стороной вниз)

    11. Ограничитель ширины бумаги

    12. Барабан картриджа

    13. Подставка выходного лотка

    14. Блок сканирования

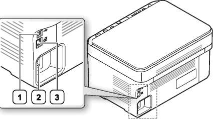
    Вид сзади

    Вид вашего принтера может отличаться от иллюстрации в зависимости от модели.

    1. Порт USB

    2. Гнездо для шнура питания

    3. Сетевой порт

    Обзор панели управления

    В зависимости от модели вид панели управления вашего принтера может отличаться от изображенной на рисунке.

    1. Питание

    Включение или выключение питания устройства.

    2. Экопечать

    Включение или выключение экорежима.

    3. Сканировать на

    Отправка отсканированных данных.

    4. Копия удостов

    Копирование двух сторон удостоверения (например, водительских прав) на одну сторону листа бумаги.

    5. Лицевая сторона

    Если горит этот индикатор, положите удостоверение на стекло сканера лицевой стороной вниз.

    6. Обр. сторона

    Если горит этот индикатор, положите удостоверение на стекло сканера обратной стороной вниз.

    7. Экран

    Показывает количество копируемых страниц.

    8. Кнопки +/-

    Позволяют увеличивать и уменьшать количество копируемых страниц.

    9. Печать экр.

    Печать изображения на экране монитора.

    10. WPS

    Подключение или отключение беспроводной сети.

    11. Стоп/Сброс

    Моментальная остановка выполнения задачи и другие функции.

    12. Старт

    Начало выполнения задания печати, копирования или сканирования в зависимости от используемой функции.

    13. Wireless LED

    Вывод сведений о текущем состоянии подключения к беспроводной сети.

    14. Индикатор состояния

    Отображение информации о состоянии устройства.

     

    Читать в телеграме

     

    <<<назад далее>>>

     

    при использовании материалов ссылка на сайт компании awella.ru обязательна

    Помогла информация на сайте ?

    Оставьте отзыв о работе нашей компании !

    Это можно сделать в яндекс браузере и это простимулирует работников нашей компании (ответственные получат бонусы), которые собирали ее для вас! Спасибо !