Введение в Minolta Magicolor 1600
Требования к свободному пространству
Рекомендуется соблюдать указанные на иллюстрациях свободные зоны, которые гарантируют простой порядок обслуживания принтера, замены и выполнения регламентных работ.
496 мм (19,5")
Вид спереди
100 мм (3,9")
127 мм (5,0")
380 мм (14,9")
707 мм (27,8")
100 мм (3,9")
Ознакомление с принтером
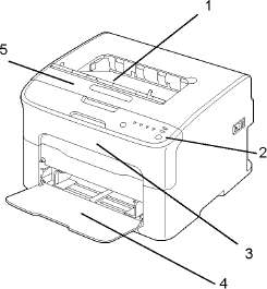
Составные части принтера
На рисунках изображены составные части принтера, названия которых используются во всем Руководстве, поэтому ознакомьтесь с ними внимательно.
Вид спереди
1. Приемный лоток
2. Панель управления
3. Передняя крышка
4. Лоток 1 (многофункциональный)
5. Верхняя крышка
6. Блок закрепления
7. Разделительные рычажки блока закрепления
8. Рычажок крышки блока закрепления
9. Блок отображения
10. Тонер-картридж
Вид сзади
1. Выключатель
2. Розетка питания
3. Порт USB
 Вид спереди - принтер с опциональными устройствами
1. Пылезащитный чехол
Панель управления
1. Индикатор Ready
2. Индикатор Error
3. Кнопка Rotate Toner
4. Индикаторы Toner
5. Кнопка Clear
Rotate Toner
 Описание индикаторов
Индикаторы могут сигнализировать 5 типов сигналов:
Не горит
Горит
Медленно мигает- мигнет раз в 2 секунды
Нормально мигает- мигнет раз в секунду
Быстро мигает - мигнет два раза в секунду
Каждый индикатор имеет следующее основное значение:
Индикатор Ready
Горящий сигнализирует готовность принтера к печати.
Индикатор Error
Горящий или мигающий сигнализирует ошибку или предупреждение.
Индикаторы тонеров
Мигающий индикатор сигнализирует кончающийся тонер соответствующего цвета.
Горящий индикатор сигнализирует, что тонер кончился.
Кроме этого ошибки и предупреждения принтера могут сигнализироваться комбинацией разнотипных сигналов индикаторов на панели управления (сообщения индикаторов).
Более подробная информация по сообщениям индикаторов указана в разделе «Сигнализация индикаторов».
Для слежения за состоянием принтера также применима утилита Удаленная панель. Более подробная информация указана в разделе «Применение утилиты Удаленная панель».
Кнопка Rotate Toner
С помощью кнопки Rotate Toner принтер переключается из штатного режима эксплуатации в режим Замены тонера, Замены всех тонеров или Очистки печатной головки.
В какой именно режим перейдет принтер, зависит от времени удерживания кнопки Rotate Toner в нажатом положении.
При переходе принтера в один из указанных режимов загорается индикатор малинового тонера (М).
Кнопка Rotate Toner применяется в следующих случаях:
Замена всех тонер-картриджей одновременно
Очистка глазка печатной головки
Нажмите кнопку Rotate Toner.
Принтер перейдет в режим Замены тонера.
Для возврата принтера из режима Замены тонера в режим штатной эксплуатации, нажмите кнопку Clear.
Очистка глазка печатной головки
Придержите кнопку Rotate Toner в нажатом положении 5-9 секунд. Принтер перейдет в режим Очистки печатной головки.
Более подробная информация по очистке глазка печатной
головки указана в разделе «Очистка глазка печатной головки».
Режим Очистка печатной головки намного упрощает порядок очистки пользователем глазка печатной головки. Автоматическая очистка глазка печатной головки не предусмотрена.
Замена всех тонер-картриджей одновременно
Придержите кнопку Rotate Toner в нажатом положении более 10 секунд. Принтер перейдет в режим Замены всех тонеров.
Для возврата принтера из режима в режим штатной эксплуатации, нажмите кнопку Clear.
Предназначение кнопки Clear
Кнопка Clear позволяет:
Продолжить печать задания, прерванную сообщением об ошибке
Отменить печатное задание
Перезагрузить принтер
Продолжение печати при появлении сообщения об ошибке
Печать задания можно продолжить после устранения следующих ошибок:
В лотке отсутствуют носители.
В принтер загядены носители, формат которых не соответствует настройке драйвера принтера.
В случае возникновения какой-либо из вышеуказанных ошибок, печать задания возобновляется путем нажатия кнопки Clear.
Отмена печати задания
Задание которое обрабатывается или уже печатается можно отменить.
При необходимости отменить печатное задание в процессе обработки или печати данных (мигает зеленый индикатор Ready), придержите кнопку Clear в нажатом положении более 5 секунд.
При отмене печатного задания мигают индикаторы Ready и Error.
Компакт-диск CD/DVD Printer Driver and Utility
|
Драйверы
|
Предназначение
|
|
Windows Vista/XP/Server 2003/ 2000
|
Драйверы управляют всеми функциями принтера.
Более подробная информация указана в разделе «Показ настройки драйвера принтера».
|
|
Windows Vista/XP/Server 2003/ 2000 для 64бит
|
Более подробно порядок установки драйверов принтера указан в Руководстве по установке.
|
Утилиты
|
Предназначение
|
|
Утилита Удаленная панель
|
Утилита Удаленная панель позволяет следить за текущим статусом принтера.
Более подробная информация указана в разделе «Применение утилиты Удаленная панель».
|
|
Документация
|
Предназначение
|
|
Руководство по установке
|
В этом руководстве содержится информация по необходимым для пользования устройством действиям - настройке устройства и установке драйверов.
|
|
Инструкция по обслуживанию (это руководство)
|
Руководство дает полную информацию по выполнению штатных текущих операций типа применения драйверов и панели управления или замены .
|
|
Service & Support Guide.
|
Информация о поддержке и обслуживании содержится в листке «Нужна помощь?».
|
Компакт-диск CD/DVD Printer Driver and Utility
Системные требования
Персональный компьютер Pentium II: 400 МГц или выше
Операционная система
Microsoft Windows Vista Home Basic/Home Premium/Ultimate/Business/ Enterprise, Windows Vista Home Basic/Home Premium/ Ultimate/ Business/Enterprise x64 Edition, Windows XP Home Edition/Professional (Service Pack 2 или новее), Windows XP Professional x64 Edition, Windows Server 2003, Windows Server 2003x64 Edition, Windows 2000 (Service Pack 4 или новее)
Свободная емкость жесткого диска 256 Мб или больше
RAM
128 Мб или больше
Дисковод CD/DVD
интерфейс
Порт USB соответствующий Revision 2.0 или USB Revision 1.1
Кабель USB в комплект поставки не входит.
Принтер не работает в режиме совместного пользования.
<<<назад
далее>>>
 
при использовании материалов ссылка на сайт компании awella.ru обязательна
Помогла информация на сайте ? Оставьте отзыв о работе нашей компании ! Это можно сделать в яндекс браузере и это простимулирует работников нашей компании (ответственные получат бонусы), которые собирали ее для вас! Спасибо !
 
 
|